开云体育app “人民咖啡馆”一门店被立案调查


国家企业信用信息公示系统显示,近日,大同臻爵餐饮有限公司被平城区市场监督管理局罚款3000元。
{jz:field.toptypename/}
主要违法事实显示,大同臻爵餐饮有限公司是要潮(上海)文化传播有限公司在大同的直营店,在杯子、灯牌、海报等物料处单独使用“人民咖啡馆”字样。平城区市场监督管理局对当事人涉嫌使用造成不良影响的商标的违法行为,已予以立案调查。
企查查显示,“人民咖啡馆”连锁店属于要潮(上海)文化传播有限公司,该公司成立于2020年10月14日,注册资本100万元,法定代表人王幼庆。
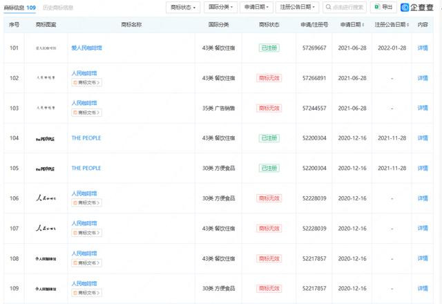
该公司多次申请注册“人民咖啡馆”商标,均被驳回。目前,在该公司注册的餐饮类商标中,“要潮人民咖啡馆”“潮人民咖啡馆”“爱人民咖啡馆”商标显示已注册。

“人民咖啡馆”的认证账号显示,该品牌已拥有27家线下门店,分别分布于上海、北京、重庆、天津、哈尔滨、南昌、长春等城市。在该账号发布的门店宣传视频中,多家门店均以“人民咖啡馆”和五角星作为店名和门头,并未在显眼处看到“要潮”和“潮”等字样。不过,抖音账号的头像中,在“人民咖啡馆”左上角,有设计成印章状的“要潮”两字。
律师分析
根据《企业名称登记管理规定》相关规定,企业名称不得有“违背公序良俗或者可能有其他不良影响”“可能使公众受骗或者产生误解”的情形。而“人民”作为我国宪法中“人民当家作主”这一核心政治理念的重要承载词,具有鲜明的公共属性和独特的政治内涵。商家直接将“人民”一词用于日常商业品牌,容易让公众误以为该咖啡馆背后有国家机关、公共机构或公益组织的色彩,进而给人以“国企背景”的错觉。这种混淆现实,正属于“可能使公众产生误解”的法定情形。与此同时,开云官方体育app官网将“人民”一词直接归入市场运作,带有浓厚的逐利性质,有违其本应承载的社会公信力和独特属性,可能被认定为“违背公序良俗或有其他不良影响”。
若“人民咖啡馆”作为无注册、禁用性质的商标性标识,被用于多店招牌及宣传物料,根据我国商标法相关规定,市场监管部门可依法责令停止使用、限期改正,并可以予以通报、罚款等处罚。如果使用“人民咖啡馆”的标识或宣传确实造成了社会公众误解、混淆,还可能涉嫌侵犯消费者权益,需承担停止侵权、消除影响等民事责任。此外,若“人民咖啡馆”的名称和装潢经使用获得一定影响力,模仿者照搬、“蹭热度”开店,可能涉嫌不正当竞争,需依法承担停止不正当竞争、赔偿损失等责任。
新闻链接
早前,“人民咖啡馆”店标引起争议。
2025年11月消息,近期,全国多地出现以“人民咖啡馆”为店标、且装修高度相似的店家,已经成为社交平台的打卡新地标。
有网友表示,“人民”一词具有强烈的公共属性和政治内涵,这样被用于商业咖啡馆的标识,多有不妥。

网友贴文截图。
11月8日,“人民咖啡馆”品牌运营方要潮人民咖啡馆在社交平台发布声明,称将严格按照注册商标规范各个场景应用,并全面启动对线上线下物料的整改工作,在所有宣传中规范使用“要潮人民咖啡馆”。

■综合自中国新闻网、法治日报、要潮人民咖啡馆账号、经济日报
热点资讯
- 2026-01-23开云app 精品巨作《斗罗大陆:从先天满魂力开始》,只要胆子大,没有不可能!
- 2026-01-30开云官方体育app 身高只有168公分的宫城良田为何会被田冈教练看中
- 2026-01-21开云官方体育app 脾胃不好百病生! 改掉4个习惯, 脾胃好了一大半→
- 2026-01-30开云官方体育app 1月30日增减持汇总
- 2026-01-23开云官方体育app 经典!《杨绛传(周年纪念版)》绝对能让你念念不忘!
- 2026-02-22开云app 米兰冬奥|无缘混杂团体金牌,领有男女冠军的中国空中技艺队为何翻了船
推荐资讯
- 开云app Ray-Ban 这「老古董」,被 Jennie 和 A$AP Roc
- 开云 大肆分封,金戈铁马,春、战其实大有不同
- 开云 值得回味的经典大作《万界交易系统》,原来这才是真正的巅峰之作
- 开云官方体育app官网 欧盟称特朗普关税威胁违反贸易协议 将做出“坚定、一致且相
- 开云app 抗鼎之作《进化降临》,让人过目不忘的细节,别心动了,大家都在追!




